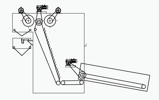
BALE OPENER
Application:
Opening the bale, dosing and weighing of
the distributed fibers by electronic
weighing system. Discharge the fibers
onto blending conveyor evenly.
Technical Data:
Machine width:1000mm 1200mm
Capacity: 15~150kg/h
Mechanical characters:
High precision weighing by high
quality electronical scale ,Use
multiple combination to keep
accurate ratio.

